処方箋 画像
あなたを輝かせる 涼子の 『今日の魔法の処方箋』 今日 11月4日 水曜日の処方箋は アドレスを整理する 今日はアドレスを整理して 携….
処方箋 画像. 処方箋発行料 編集 医療機関では、投薬料(処方箋発行料)として、68点が加算される(通常は、救急医療などのケースを除き、1点10円で換算されるため、10割負担で680円相当)。 偽造処方箋 編集 近年処方箋の偽造事件が発生している。. アンサング・シンデレラ 病院薬剤師の処方箋 やっと放送が始まりましたね。 DVDラベルを頂きました。ありがとうございます。 #02以降のラベルもお願いできますでしょうか。. こんにちはヤクタマです。 処方箋送受信アプリを薬局に導入してますか? 「処方箋を先にfaxしてくれたら準備しておきますよー」とかもう何年前の話ですか? ざ・時代遅れ。 一人一台スマートフォンをもつ時代なので写真を撮って画像を送ればあっという間に処方箋送信完了です。.
Rezept )とは、診療所や病院などの医療機関にて診察を受け、医師、歯科医師、獣医師が医薬品を処方するために、薬の種類とその服用量、投与方法などが記載された薬剤師が調剤に用いる文書である。 一般に、処方箋医薬品はこの処方箋が. Sd c株式会社のプレスリリース(年10月8日 11時02分)処方箋なしで病院の薬が買える『セルフケア薬局 飯田橋店』オープン!年10月8日より. (3) 同一患者に対し処方箋を交付した同日に抜歯直後等の必要から屯服薬を投与する場合、当該処方料は処方箋料に含まれる。 (4) その他は、医科点数表の区分番号F400に掲げる処方箋料((8)から(10)までを除く。)の例により算定する。.
画像数:21枚中 ⁄ 1ページ目 更新 プリ画像には、処方箋の画像が21枚 、関連したニュース記事が66記事 あります。 また、処方箋で盛り上がっているトークが1件あるので参加しよう!. 株式会社NHK出版のプレスリリース(年10月6日 11時分)親子から、兄弟、夫婦関係まで…最も身近なのに、なぜストレスなのか? 脳科学で. コンタクトレンズを買う時に、処方箋(しょほうせん)の提出を求められることがあります。買う側にとっては少し面倒に思える部分かもしれませんが、目の健康を保つために重要な部分です。 「コンタクトレンズの処方箋って何?どこでどうやってもらうの?」 「処方箋なしでコンタクト.
Sunday Wellness Breeze, Season 3, Episode 16』無料Live Zoomウェビナー開催!10月11日(日)朝10時~「日本コロナの真実と失敗の本質~“次の波”への処方箋~」井上 正康先生/Dr. 画像がありません。 ビデオ 360°ビュー 画像 Amazon.co.jp限定アンサング・シンデレラ 病院薬剤師の処方箋 Blu-ray BOX(メインビジュアルB6クリアファイル付) 石原. ( 処方箋画像やファックスで受付をしている薬局もあり、そういったサービスを利用するのもいいでしょう ) ※くすりの窓口のサービスの紹介文をバナーを追加させてください。 ⑤薬品名・分量・用法・用量 ⑤-1.
全品ポイント5倍!11月1日限定。☆処方箋提出☆送料無料 マイデイ 30枚入り 2箱 / 1日使い捨てコンタクトレンズ ワンデー 高含水率 MyDay クリアコンタクトレンズ クーパービジョン. 「hotワード#終わらない夢 x 処方箋」ツイート一覧。処方箋は「天河の舟」 「19」も流れたし、今日もなんだかんだで3人回みたいなものでしたな~🤓😎👸 楽しかった. 最大3千円OFFクーポン配布中!10月12日9:59迄。☆処方箋提出☆送料無料バイオフィニティ マルチフォーカル 6枚入り 2箱セット/ 2週間使い捨てコンタクトレンズ 遠近両用 2ウィーク 2week Biofinity multifocal クーパービジョン クリアレンズ 酸素たっぷり えんきん 老眼.
処方箋(しょほうせん)とは。意味や解説、類語。1 医師が、患者に投与する薬について薬剤師に与える指示書。2 (比喩的に)ある問題を解決するのに効果的な方法。「トラブル回避の処方箋」 - goo国語辞書は30万2千件語以上を収録。政治・経済・医学・ITなど、最新用語の追加も定期的に行っ.

処方箋調剤 事業内容 株式会社エーエム サポート 株式会社紀北調剤薬局

処方箋とは 調剤薬局 シーシーコアファーマシー

院外処方箋 いまさら聞けない ナースの常識 3 看護roo カンゴルー
処方箋 画像 のギャラリー

処方箋のこと Jasmine Cafe

眼鏡処方箋の見方

保険薬局の方へ 採用薬情報 札幌医科大学附属病院 薬剤部

処方箋は期限内に薬局へ 岐阜駅近く 阪野クリニック

健保処方箋 院外処方箋 新様式発売のお知らせ 新着情報 東杏印刷オンラインショップ
Q Tbn 3aand9gctsdyi1uxa0bjmxx No7wblyqkok33fawps1m9zofogor6oj8lj Usqp Cau

保険調剤の流れ シリーズ4 処方箋の使用期限が切れたら 薬剤師の転職相談所 ファーマシストライフ

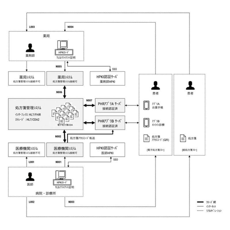
電子処方箋の本格運用に向けた実証事業 医療情報標準規格を活用 日経クロステック Xtech

処方箋 Wikiwand

独自 処方箋電子化に38億円 令和4年度運用開始 コロナ踏まえデジタル化推進 厚労省概算要求 Sankeibiz サンケイビズ 自分を磨く経済情報サイト

電子処方箋 稼働へ 厚生労働省 高齢者住宅新聞オンライン

クラフトでも処方箋の 付け替え Di Online

零売 とは 処方箋ナシで医療用医薬品を購入できるって本当 薬プレッソ

院外処方箋の有効期限について 医療事務サイト 医療事務資格 取る前取ったあと レセプトチェックに役立つ医療事務講座
コラム詳細 サンドラッググループ お客様サイト

薬局の店舗戦略を 処方箋受付回数 集中率 から読み解く スクエル 薬局分析サービス Scuel Bi を開始 ミーカンパニー株式会社

Palette 処方箋発行 簡単に処方箋を発行したい サービス 料金一覧 製品情報 株式会社ミック

投薬 とうやく 院外処方箋 いんがいしょほうせん 米倉眼科 滋賀県守山市 草津市 南草津 野洲市 栗東市から通える眼科

処方箋の画像を送信する 電子お薬手帳 お薬手帳プラス サポートサイト 日本調剤

処方箋に有効期限 使用期間 がある理由と延長方法 期限切れ処方箋の扱いは めでぃすた 薬局薬剤師のブログ

処方箋の無料イラスト フリーイラスト素材集 ジャパクリップ

現場ですぐに役立つ 処方箋の読み方 伊賀 立二 土屋 文人 後 信 中村 均 本 通販 Amazon

分割調剤の処方箋が登場 Di Online

適切な処方箋の数は 処方箋の枚数からわかる転職を避けるべき調剤薬局 薬剤師転職サイト比較 Japan
Q Tbn 3aand9gcsg1aokubnypamggc3zp7cwqsrc Avgrbachvyws4dmqxwn Vry Usqp Cau
Www Mhlw Go Jp Content Pdf

ジョンソン エンド ジョンソン社製品販売についての重要なお知らせ アースコンタクト Kaago カーゴ

薬局のオモテとウラ 処方箋の保存期間は3年と5年のものがある
Q Tbn 3aand9gcrdi5qndj4ocuepahcg1qsxbzo14 O3u7yq2rf4rc5oukuzgoqz Usqp Cau

保険調剤の流れ シリーズ3 処方箋への正しい調剤印の押し方 薬剤師の転職相談所 ファーマシストライフ

処方箋の有効期限 は4日間です 有効期限を超過した処方箋では薬を受け取ることができません 介護の教科書 みんなの介護

処方箋へ の検査値 病名 医師は 賛成 多数 Vol 9ー1 医療維新 M3 Comの医療コラム

処方料等及び処方箋様式の見直し 18年度診療報酬改定 医療関係者向け 日本化薬

院外処方箋 高松市立みんなの病院

Lineでの処方箋受付サービス 株式会社エヌ エス シー

千葉大学病院 禁忌 の検査値 薬ごと表示 院外処方箋への印字スタート 薬事日報ウェブサイト

処方箋の画像を送信する 電子お薬手帳 お薬手帳プラス サポートサイト 日本調剤

愛媛大学医学部附属病院 院外処方箋に検査値表示 病院 薬局の情報共有も促進 Qlifepro 医療ニュース

Line で処方箋受付 予約ができます イキミ薬局 公式ホームページ イキミファーマシー

手にした処方箋ご覧になったことはありますか 処方箋の見方について解説 Medicalook メディカルック
処方箋とは 日本調剤 お客さま向け情報

処方箋 銀座 耳鼻科 内科 慶友銀座クリニック 耳鼻咽喉科 花粉症 いびきのレーザー 高周波治療 睡眠時無呼吸 禁煙外来 補聴器

処方箋のみかた

外来処方箋への臨床検査値印字

アメリカの処方箋 Prescription Usajpn Com アメリカ生活 教育情報

院外処方箋への検査値等の表示開始について 来院される方へのお知らせ 国立病院機構 熊本医療センター

ファックス送信した処方箋のみで薬を受け取ろうとした患者 リクナビ薬剤師

処方箋のフリー素材です ふんわりいらすと 素材カフェ

ブログ マスカット薬局 一宮店

薬局の処方箋入力業務を自動化する Precal のb版サービス提供を開始 プレカルのプレスリリース
処方箋とは 日本調剤 お客さま向け情報

厚労省 電子処方せん引換証 発行不要にガイドライン改正 流通ニュース

Vドラッグで処方箋 ネット受付が楽ちん 待ち時間短縮 二次感染予防

電話による処方箋発行について 沖縄医療生活協同組合 沖縄協同病院

処方箋はどこの薬局でもok 処方箋の見方や注意点を解説 Eparkくすりの窓口コラム ヘルスケア情報

重要 新型コロナウイルス感染対策による診療や処方箋の対応について 名寄市立総合病院

エストニアの電子処方箋から学ぶ 処方箋データベースの構築と運用 Manaboo Com 電子政府ブログ

こころの処方箋 新潮文庫 隼雄 河合 本 通販 Amazon

メドレー 厚生労働省の 電子処方箋の本格運用に向けた実証事業 の完了を報告 Med It Tech

保険処方箋 シンリョウネットショップ
N8jat3fqd8k Jp 19 01 17 423

偽造処方箋で福岡県が注意喚起 Di Online

処方箋なしで処方薬を買うことができる 零売 れいばい って知っていますか 院長ブログ 五本木クリニック

しあわせ処方箋 キャンディプチギフト 結婚式や退職のプチギフトならまんぞく屋

患者さまへ 院外処方箋のサイズ変更のお知らせ お知らせ 公立森町病院

Line おくすり予約 神田 駅近の処方せん 調剤薬局 ニシザワ薬局 お茶の水駅前薬局
平成30年度診療報酬改定 分割調剤と処方箋様式の変更 Yg研究会 賢く生きる
マツキヨ 処方箋をスマホで店舗に送れる機能を公式アプリに追加 薬の待ち時間も不要に アプリオ

処方箋は期限内に薬局へ 岐阜駅近く 阪野クリニック

院外処方箋への検査値印字のお知らせ 浜松医科大学医学部附属病院
麻薬処方箋は施用者番号 患者住所記載のチェックを忘れずに 薬局指導監査 Com

処方箋は確認していますか 医療コラム 新百合ヶ丘総合病院

処方箋様式第二号を改正 新しい風 公益社団法人 宮崎市郡医師会のblog

処方箋検査値表示を本格化 九州地区の国立大で相次ぎ開始 薬事日報ウェブサイト

処方箋の記載事項 一般名処方
3

保険調剤の流れ シリーズ3 処方箋への正しい調剤印の押し方 薬剤師の転職相談所 ファーマシストライフ

Windy 福岡 薬袋 電子薬歴 調剤過誤防止 在庫 調剤薬局 病院診療所 システム 処方箋受付システム 調剤薬局向け

岡山大学病院 院外処方箋 検査値表示を開始 薬局のチェック機能に期待 薬事日報ウェブサイト

分割調剤向けに処方箋様式が変更へ Di Online

調剤薬局で薬を受け取るまで 処方箋にはどのようなことが書いてあるのでしょうか 日医工株式会社

院外処方箋への検査値の印字について 宮崎大学医学部附属病院薬剤部
Www Mhlw Go Jp Content Pdf

中京病院 院外処方箋に検査値表示 薬薬連携 で地域貢献 中部経済新聞 愛知 岐阜 三重 静岡の経済情報

処方箋の登録方法 コンタクトレンズのハートアップ

処方箋のチェック項目 薬局で働く薬剤師のお仕事

処方箋ない薬販売 安全 日本経済新聞

処方箋入力を省力化したい ソリューション 事業案内 株式会社トーショー

処方箋の期限は延長できる 4日以内である理由と対応方法 Eparkくすりの窓口コラム ヘルスケア情報

処方箋 Wikipedia

処方せんの保管期間は3年 それとも5年

診療科別処方箋一枚あたりの調剤報酬 技術料 ファーマシスタ 薬剤師専門サイト

Sph って何 軸度 って 眼科医のメガネの処方箋の見方 メガネのイタガキ

アスクル シンリョウ コンタクトレンズ処方箋 複写 1箱 冊入 取寄品 通販 Askul 公式

医学書院 週刊医学界新聞 第3146号 15年10月19日
Http Www Med Oita U Ac Jp Yakub Ingaioshirase ingaiyohousennbunkatsu Pdf

メドレー 厚生労働省の 電子処方箋の本格運用に向けた実証事業 の完了を報告 Med It Tech

処方箋 Wikipedia

眼鏡 コンタクトレンズ処方箋 シンリョウネットショップ

処方箋について 処方箋の見方 れんず屋

処方箋とは 調剤薬局 シーシーコアファーマシー